https://www.dpreview.com/news/24750...lization-system-for-low-light-video-recording
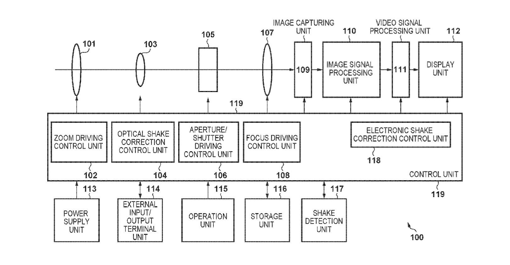
Patent: Canon to have three image stabilization systems working together
Nα το βαλει στην επερχομενη high res camera που περιμενουμε ή θα παει για την R mark II ?



![]()
https://www.dpreview.com/news/24750...lization-system-for-low-light-video-recording
Patent: Canon to have three image stabilization systems working together
Nα το βαλει στην επερχομενη high res camera που περιμενουμε ή θα παει για την R mark II ?
Δυστυχώς δεν έχουν dpaf ... μόνο contrast detection.
Κρίμα....θα ήταν καλή επιλογή .
Τα πρώτα reviews βγήκαν ήδη...
Sent from my iPhone using Tapatalk Pro
αμα ειναι contrast detection, ειδικα σε μετριο και χαμηλο φωτισμο ...ξεχνα το.
We use essential cookies to make this site work, and optional cookies to enhance your experience.