Τεχνολογικά νέα, καινοτομίες .... στις Canon




Αρχιζουν και σιγολενε για τελος του 2023 αλλα δεν θα μου εκανε εντυπωση να πηγαινε και λιγο παραπερα .Νομιζω εξαρταται και απο την κυκλοφορια των R5 mark II οταν κυκλοφορησουν (πληθυντικος γιατι μπορει να ειναι πανω απο μια ....)
 
Αντε να τη δούμε επιτέλους... Σώμα μεγέθους R3 ή μεγαλύτερο λές;
 
Tουλαχιστον ιδιο πιστευω

pro format μαζεμενο με μια επιφυλαξη για το evf που ισως ειναι πιο φουσκωμενο.
 


Αρχισε να το σκεφτεται αραγε η canon ?

Δεν ειναι και ευκολο εκτος αν γινει σε περιορισμενο αριθμο φακων οπως γινεται με την Νikon και την Tamron εως τωρα
 
To view this content we will need your consent to set third party cookies.
For more detailed information, see our cookies page.

Περιπτερο φαση η πληρης εκδοση της F1......βαζεις βαζεις βαζεις......
 
  • Like
Reactions: gpapjohn
Δεν ξέρω τι ευνοεί αλλά ήδη συμβαίνει

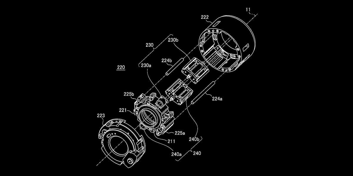
Nano USM​

The latest development, Nano USM technology was introduced with the updated EF-S 18-135mm f/3.5-5.6 IS USM lens in 2016. The aim was to produce a motor that can deliver the speed photographers want for stills with the smooth, steady adjustment required for video.

Like earlier USM motors, Nano USM uses ultrasonic vibration to create movement, but it's very small and still delivers high autofocus performance.

Like other USM units, the Nano USM motor has an elastic metal body, a ceramic voltage element and a drive unit. Sending current and varying the voltage applied to the ceramic elements creates two types of vibrations, which enable the motor to precisely control the speed and direction of the drive unit. However, the movement is linear rather than rotational – the lens focus elements are driven by a rack, with guide bars to control the forward and backwards movement. The outcome is smooth focusing with fine control over speed and near-silent operation.



βέβαια ισχύει μόνο για τους nano usm, εκτός αν υπονοεί ότι θα εφαρμοστεί σε όλους τους καινούργιους φακούς ασχέτως κόστους, πολύ αμφιβάλλω.
 


πολυ ενδιαφερον και να δουμε τι θα βελτιωσουν.

Ελπιζω οχι την ξεχωριστη λειτουργια λογισμικου για φωτογραφια και βιντεο που πλεον εχει μειωθει αρκετα σε χρονο εναλλαγης των δυο μενου.
 


patenttiltevf.png
 
  • Like
Reactions: LongTom


patenttiltevf.png
Από τα καλύτερα στοιχεία της GFX50S η επιλογή για κουμπωτό tilting EVF.
Κρίμα που δεν ξαναεμφανίστηκε σε άλλο σώμα.
 
  • Like
Reactions: Kosh