Τεχνολογικά νέα, καινοτομίες .... στις Canon

Re: Canon rumors

Να σας πάω λίγο αλλού... Τώρα που βγήκε η Sony RX100 κάτι θα πρέπει να κάνουν τα αστέρια μας - αφού λύσουν τα προβλήματα της S100 πρώτα...
 
Απάντηση: Canon rumors

Οι φήμες οργιάζουν για:

Canon EOS 3D

* 30+ megapixels, 1D-class body
* Dual Digic5+ processors for 6 FPS
* 61-point AF system, major functions same as 1DX
 
Απάντηση: Canon rumors

Επίσης γράφουν ότι κάτι θα παρουσιάσουν την Παρασκευή 8 Ιουνίου.:SFGSFGSF::SFGSFGSF::SFGSFGSF:
 
Re: Canon rumors

Αν μιλάμε για τον 18άρη που φοράνε οι 600D, 7D κλπ τότε σε FF βγαίνει 40,5ΜΡ.
 
Re: Canon rumors

Καλα θα κανουν εκει -τουλαχιστον- στην κανον, αφου εμειναν τελευταιοι στην παρουσιαση νεων μοντελων, να στρωθουν και να βγαλουν αυτο που ζηταει ο αληθινος φωτογραφος :antlers: ... σκετα μεγαπιξελ, ειναι ευκολο, 36 εβαλε η νικον σε FF, 20 εβαλε σονυ σε CX... σιγα τα ωα...

Λοιπον, περιμενω,
FF
20mp
10fps
6.400 iso χωρις ιχνος θορυβου ή smearing
Οχι ΑΑ φιλτρο
AF καλυτερο απο της 1Dx
Αθορυβο/ηλεκτρονικο κλειστρο
Τιμη κατω απο 2.000Ε


Θα περιμενω πολυ λετε.... ???? :violent-smiley-030:
 
Re: Canon rumors

Με αυτά τα χαρακτηριστικά θα είναι πιο ακριβή απο την 5d markIII στα σίγουρα ....
 
Re: Canon rumors

Εδω ανακοινωνονται οντως 3 DSLR απο οτι δειχνει και μια mirrorless να κανει χαρες ο cacau :D

Σας το ειχα πει οτι αποκλειεται να μην εβγαζαν νεα κομματια ενοψει Photokina......
 
Απάντηση: Canon rumors

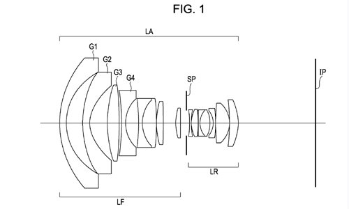
Νέος Canon EF 14-24 f/2.8L:grinning-smiley-043:grinning-smiley-043:grinning-smiley-043

Υπολογίζεται να ανακοινωθεί τέλος 2012 αρχές 2013.
 

Attachments

  • 14-24patent.jpg
    14-24patent.jpg
    49.9 KB · Views: 70
Απάντηση: Canon rumors

Εύχομαι η canon μέχρι τότε να έχει ξεκαβαλήσει το καλάμι και ο φακός να πουλιέται σε σωστή τιμή.
 
Απάντηση: Canon rumors

Καλως να ορισει.......!!!!
(αν και μετα απο 5 χρονια απο τον αντιστοιχο ΝΙΚΚΟR η CANON βεβαια 'ανακαλυπτει την Αμερικη' αλλα οπως και να το κανουμε αυτα ΕΙΝΑΙ καλα νεα :BDGBGDB55:)
 
Απάντηση: Canon rumors

Είναι αλήθεια ότι η Canon άργησε πολύ να παρουσιάσει φακό 14-24 αλλά καλώς να ορίσει.......

Ο Nikon 14-24 είναι εξαιρετικός φακός, πρόκειται για τον καλύτερο zoom στην κατηγορία του που υπάρχει στην αγορά αυτή την στιγμή.
Εύχομαι ο Canon να είναι καλύτερος σε ποιότητα, όγκο και βάρος.
 
Απάντηση: Canon rumors

Εύχομαι η canon μέχρι τότε να έχει ξεκαβαλήσει το καλάμι και ο φακός να πουλιέται σε σωστή τιμή.

Κάτω από 2-2.200, το αποκλείω. Η κάνον απλά είναι αλλού.
 
Re: Canon rumors

Ακολουθουν και αυτοι την κουρσα των μεγαπιξελς....

Λογικο ηταν. Το ιδιο αναγκαστηκε να κανει και η Nikon ακολουθωντας την Canon.
 
Re: Canon rumors

Οταν θα ανακοινωθουν οι τιμές θα δουμε ποιος καπνίζει το καλύτερο "χόρτο" εκεί περα..
Θα πέσει κλάμα, ειδικά στις χώρες του μνημονίου
 
Re: Canon rumors

Πολυ θα ηθελα να πιστεψω το λουμινους που μιλαει για 46mp και οχι το κανον ρουμορς που μιλαει για 20mp στη νεα 6ρα, ή οπως και να την πουνε, και τοτε ισως δικαιολογησω την φημολογουμενη τιμη στα 2.000Ε... αλλοιως με αυτα τα specs...


A new 20mp sensor
Full Frame
4.5fps
ISO Range 100-25600
DIGIC5+
APS-C Sized body
Weathersealed
SD Card
Built-in Wifi & GPS
11 AF Points, f/2.8 Cross-type in the center.
3″ LCD
Full HD (1920×1080)
Available December 2012
Price: $1999 USD Body Only (Speculated price)



νομιζω (και η νικον με την 600 πανω κατω το ιδιο αν και ακομα δεν την ειδαμε φυσικα ουτε τη μια ουτε την αλλη) ψαχνουν για κοροιδα...

Κοινως εχω την εντυπωση, οτι η κανον επαναφερει την 5D1 και μαλιστα σε ακομα χειροτερη κατασταση με τα πλαστικα σωματα, την στολιζει με κατι μλκς τυπου gps, wifi, 1080 κτλ. και μας τη σερβιρει σαν το αυγο του κολομβου...


Παλι καλα που -μαλλον- πεταξαν τα σχεδια της rebel 300 γιατι αλλοιως μπορει να βλεπαμε καμμια FF με 3 σημεια εστιασης...


Το μονο αισιοδοξο ειναι οτι αναφερει τον αισθητηρα ως new (και νομιζω δεν υπαρχει αλλος 20ρης στην γκαμα της), οτι αναφερει τον Digic 5 + και οχι τον απλο και μενει να δουμε τι πουλια θα πιανουν τα υπολοιπα σημεια εστιασης εκτος του κεντρικου...
 
Re: Canon rumors

Eγω σου λεω οτι και τα δυο ισχυουν.

Και η 46mp που αναφερεται εσχατως και η φτηνη FF που ειναι ετοιμη να ανακοινωθει στην Φωτοκινα σε 2 μερες......

Μπορει να καθυστερησει λιγο η "μεγαλη" αλλα ειναι λογικο μιας και δεν θα θελουν παλι κατασκευαστικες βλακειες οπως αυτο με το light leak που ειχε η 5D III.

Αλλωστε 3 FF σωματα στην γκαμα τους εκτος απο την απολυτως επαγγελματικη ΕΟS 1 x (δεν υπολογιζω την EOS 1 c) ακουγονται ως μια πληρης γκαμα ετσι δεν ειναι ?

Για ολα τα βαλαντια και γουστα.
 
Re: Canon rumors

Μακαρι... θα εχουν λες την 1Dx στα 6.000Ε, την 5D3 στα 3.500Ε, την 6D με τα 20mp στα 2.000Ε και την 46ρα σε ποια τιμη θα τη χωσουν? Αν τη βαλουν στα 2800 (λιγο πανω απο την 800 της νικον) θα πρεπει να μην εχει το AF της 5D3, αν της βαλουν βαρβατο AF θα πρεπει να παει πανω απο τα 3.500Ε, οποτε για μας το πουλακι πεταξε και η νικον 800 θα κανει παρτυ...

...αν της βαλουν AF κατι ενδιαμεσο σε 5D3 και 7D κανεις δεν θα περνει την 3αρα και σε τι τιμη θα την εχουν? Αναγκαστικα κατι κοντινο στα 3.500Ε αναλογο του κοστους σε D800 και D800Ε...

Την 7ρα μετα και το νεο firmware βλεπω να την κρατανε στα 1400Ε για κανενα χρονο ακομα...


Μπερδεμα...